Apparatus and method for calcination of gypsum
(22) 12.02.2016
(43) 03.01.2018
(57) [Object] Fluidization of a deposit of raw gypsum in a calciner is so improved as to prevent uneven calcination of calcined gypsum from occurring and reduce a fuel consumption of the calciner.
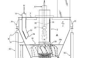
[Solution] An apparatus for calcination of gypsum includes a gypsum calciner (1, 3-7) having an interior wall surface with a circular or annular configuration as seen in its plan view, and a tubular corn bustor (2) positioned at a center part of a body of the calciner. The raw gypsum (M) in the calciner is calcined or dehydrated by a high temperature gas spouting flow (Hg) ejected from a lower portion of the corn bustor. The calciner has a stationary-vane-type or movable-vane-type auxiliary device, which circumferentially energizes the raw gypsum in vicinity of the interior wall surface toward a circumferential direction of the calciner, or augments a movement of the raw gypsum therein toward the circumferential direction. The auxiliary device has a plurality of stationary vanes (10) circumferentially arranged in an outer peripheral zone of a lower portion of the combustor and spaced apart from each other at an angular interval, or an agitator (30) extending through a conical or inner circumferential surface defined by the interior wall surface.
(71) Yoshino Gypsum Co., Ltd., Chiyoda-ku, Tokyo 100-0005 (JP)
(84) Designated Contracting States: AL AT BE BG CH CY CZ DE DK EE ES Fl FR GB GR HR HU IE IS IT LI LT LU LV MC MK MT NL NO PL PT RO RS SE SI SK SM TR; Designated Extension States: BA ME; Designated Validation States: MA MD
