Preheater system of cement clinker production line
(22) 21.04.2023
(43) 28.07.2023
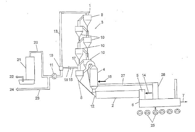
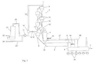
(57) The invention discloses a cement clinker production line preheater system which comprises a plurality of stages of cyclones, connecting pipelines of the cyclones and a decomposing furnace, a flue gas outlet of a C1 cyclone is connected with a C1 waste gas air pipe, and an outlet of the C1 waste gas air pipe is connected with a heat exchanger used for preheating raw materials; raw materials enter the heat exchanger to exchange heat with high-temperature flue gas entering an outlet of a C1 cyclone cylinder of the heat exchanger, the preheated raw materials enter a C2-C1 connecting pipeline through an outlet material pipe of the heat exchanger, and the cooled flue gas enters a kiln tail waste gas air pipe. According to the invention, the raw material heat exchanger is externally arranged behind the C1 cyclone cylinder at the top, so that a layer of kiln tail frame does not need to be additionally arranged, the existing five-stage preheater can be changed into a six-stage or more preheater on the basis of the existing five-stage preheater, the heat recovery efficiency of the system is high, and the heat consumption is reduced.
(71) Sinoma Int Eng Co Ltd (CN)
