Plant for production of cement with thermal energy extraction
(22) 26.09.2024
(43) 10.04.2025
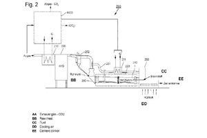
(57) The invention relates to a plant (100, 200, 300, 400) for producing cement clinker from raw meal, comprising at least one heat exchanger (110, 210, 310, 410) located downstream in the gas flow direction, and at least one device (120, 220, 320, 420) following in the material flow direction for preheating, calcining and sintering raw meal, wherein this device can consist of individual and successive devices, wherein the at least one device (120, 220, 320, 420) for preheating, calcining and sintering raw meal is connected on the primary side to the at least one heat exchanger (110, 210, 310, 410) located downstream in the gas flow direction and is exposed to exhaust gas. According to the invention, the at least one heat exchanger (110, 210, 310, 410) located downstream in the gas flow direction is connected on the secondary side to a downstream plant for separating and/or storing carbon dioxide (CO2) from the exhaust gas. This plant configuration, without a raw meal preheater, allows the plant to be operated with an excess of fuel, so that the exhaust gas from the plant has enough heat to operate a coupled process for the separation and/or storage of carbon dioxide.
(71) KHD Humboldt Wedag GmbH (DE); 51149 Köln (DE)
(84) ARIPO (BW, CV, GH, GM, KE, LR, LS, MW, MZ, NA, RW, SC, SD, SL, ST, SZ, TZ, UG, ZM, ZW), Eurasian (AM, AZ, BY, KG, KZ, RU, TJ, TM), European (AL, AT, BE, BG, CH, CY, CZ, DE, DK, EE, ES, FI, FR, GB, GR, HR, HU, IE, IS, IT, LT, LU, LV, MC, ME, MK, MT, NL, NO, PL, PT, RO, RS, SE, SI, SK, SM, TR), OAPI (BF, BJ, CF, CG, CI, CM, GA, GN, GQ, GW, KM, ML, MR, NE, SN, TD, TG).
