Cooler for cooling hot bulk material, in particular cement clinker
(22) 03.07.2024
(43) 09.01.2025
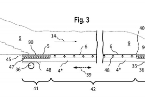
(57) A device for cooling hot bulk material, in particular cement clinker, by means of a cooling gas (80). A cooling grate (3) conveys a layer of the bulk material (9) and is flowed through by cooling gas. The cooling grate comprises a number of bars (4) which are alternately moved forwards and back in the conveying direction and on which the bulk material (9) lies. Adjacent bars (4) are moved at the same time in the forward stroke and at different times in the return stroke. According to the invention, at least one bar is formed as a hybrid bar (4*) with a varying configuration of the bar surface (60), having a middle portion (42) with a smooth bar covering (6) and also a beginning portion (41) and/or end portion (42) comprising a protective layer (5) of bulk material (90) located on the bar surface (60). This provides protection from wear. This produces an increased friction coefficient for the bulk material as compared with the middle portion. Omitting the protective layer in the middle portion, which extends over at least half the length of the hybrid bar, has the effect of reducing the pressure loss for the cooling gas and reducing problematic compacting of the bulk material in the return stroke. Along with decreasing operating expenditure, the cooling effect is improved.
(71) Claudius Peters Projects GmbH; 21601 Buxtehude (DE)
(84) ARIPO (BW, CV, GH, GM, KE, LR, LS, MW, MZ, NA, RW, SC, SD, SL, ST, SZ, TZ, UG, ZM, ZW), Eurasian (AM, AZ, BY, KG, KZ, RU, TJ, TM), European (AL, AT, BE, BG, CH, CY, CZ, DE, DK, EE, ES, FI, FR, GB, GR, HR, HU, IE, IS, IT, LT, LU, LV, MC, ME, MK, MT, NL, NO, PL, PT, RO, RS, SE, SI, SK, SM, TR), OAPI (BF, BJ, CF, CG, CI, CM, GA, GN, GQ, GW, KM, ML, MR, NE, SN, TD, TG).
