Cement production system and process powered by geothermal energy
(22) 13.09.2023
(43) 13.03.2025
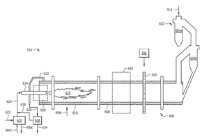
(57) A cement production system includes a wellbore extending from a surface into an underground magma reservoir. The wellbore is configured to heat a heat transfer fluid via heat transfer with the underground magma reservoir. Processes for cement production are driven at least in part by energy obtained from the underground magma reservoir.
(71) Enhanced GEO Holdings, LLC, St. Petersburg, FL (US)
