Automatic feeding system and method for calcined gypsum
(22) 26.12.2022
(43) 16.05.2024
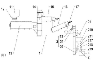
(57) An automatic feeding system and method for calcined gypsum. The system is provided with a material transportation and regulation apparatus (1), a weighing and material distribution apparatus (2), a material backflow driving apparatus (3), and a control module, wherein the weighing and material distribution apparatus (2) performs material distribution on calcined gypsum, such that one portion of the calcined gypsum enters a mixing machine (4), and the other portion of the calcined gypsum enters the material backflow driving apparatus (3). The loading amount of calcined gypsum and the transportation rate of the calcined gypsum are adjusted, the overall transportation flow during a calcined gypsum transportation process is controlled, calcined gypsum entering the mixing machine (4) is periodically weighed by means of the weighing and material distribution apparatus (2), and material distribution is performed, according to a weighing result, on calcined gypsum which is about to enter the mixing machine (4), such that a portion of calcined gypsum. which exceeds the amount of calcined gypsum required by the mixing machine (4) per unit of time, is driven to return to a weighing belt conveyor, and when the amount of calcined gypsum at a material inlet does not match the transportation speed of a weighing belt scale in a timely manner, the amount of calcined gypsum entering the mixing machine (4) in real time is controlled, thereby improving the stability of a calcined gypsum transportation and supply process.
(71) NA National Building Materials Technological Innovation & Research Institute Limited Company (CN)
