A method for measuring reactivity of pozzolanic materials and correlating their reactivity to strength development in composite cement
(22) 25.10.2024
(43) 14.08.2025
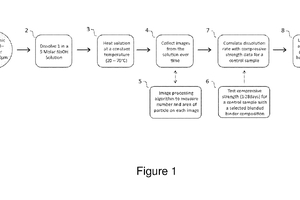
(57) The invention relates to a method for measuring reactivity of pozzolanic materials and correlating their reactivity to strength development in composite cement, said method comprising the steps of dissolving pozzolanic materials in an alkaline solution; placing a 1.0 to 5.0 Molar Sodium Hydroxide - Na(OH) -solution obtained by dissolving the pozzolanic materials in the alkaline solution on a flow cell or a think glass sheet, said flow cell configured to accommodate pozzolanic particles up to 100pm; heat the flow cell at 20 to 70°C, collecting one or more optical images of the particles using an optical microscope; measuring the pozzolanic materials (particle) count and area by image processing a set of spatial and morphological filters to identify the particles distributed in the solution over time; compute the change in particle count or area over time; the normalised particle count is interpretated as dissolution — which is plotted over time, describing the particle dissolution rate over the measurement time, and correlate the particle dissolution over time with compressive strength data generated from samples tested in a range from 1-28 days.
(71) FLSmidth Cement AIS, Vigerslev Alle 77, 2500 Valby (DK)
